AFM Modes

Torsional Force Microscopy (TFM)

From the innovator of torsional resonance-based AFM modes

Nanoscale Characterization For Next-Generation 2D Materials

Expanding upon Bruker’s innovative torsional resonance mode (TR-Mode™), torsional force microscopy (TFM) provides increased sensitivity to lateral (frictional) forces to enable:

Atomic Lattice Imaging of 2D Materials

Atomic lattice imaging is a key AFM resolution benchmark. Achieving this level of resolution has typically required highly experienced users and mechanically compact AFM systems. With the latter often being at the cost of limited scan ranges and restrictive sample sizes.

The superior signal-to-noise and ease of operation of TFM, together with the Dimension Icon’s proven highest performance, delivers routine atomic lattice imaging of 2D materials on a large-sample, open access platform.

TFM images of the atomic lattice of freshly cleaved HOPG acquired under ambient conditions. The lattice structure is clearly observed in both TR Phase and TR Amplitude data channels. Fast Fourier transform (FFT) analysis of the data (inset image) illustrates the hexagonal structure of this lattice and the minimal drift during the measurement. While similar resolution can be obtained by careful operation in other AFM modes, the high sensitivity of TFM provides superior signal-to-noise and enables easier operation. Images were acquired on the Dimension Icon using FESPA-V2 probes (fTR ~843 kHz). Scan size: 10 nm. 

TFM is a powerful mode for studying 2D materials. It has allowed us to directly visualize both atomic crystal lattices and moiré superlattices formed in vdW materials at unprecedented success rates. The advantages of this mode could have a transformative impact on fundamental and applied research on vdW materials and devices.

Dr. Mihir Pendharkar, Postdoctoral Fellow, Stanford University, California, USA


Watch our recent Bruker AFM Webinar entitled ‘"AFM-Based Characterization of the Properties of 2D Materials and Heterostructures" to hear more on how Dr. Pendharkar, Prof. David Goldhaber-Gordon and their colleagues at Stanford University are using TFM to study van der Waals (vdW) materials.

Simplified Nanoscale Characterization of Moiré Superlattices

When 2D materials are assembled into vertically stacked van der Waals (vdW) heterostructures, the interlayer twist creates a moiré superlattice whose period is a function of twist angle. Slight changes in the twist angle can dramatically change the electronic properties of these stacked structures, making them attractive for use in electronic devices, energy storage, and quantum technologies. As such, the ability to characterize vdW heterostructures at the nanoscale is extremely important.

TFM has successfully resolved key structural properties that are known to directly affect the electronic properties of vdW heterostructures, such as:

Surface and sub-surface moiré patterns for determination of twist angle, strain, and other nanoscale spatial variations

Atomic crystal lattice structure of individual layer materials for identification of vdW flake orientation

TFM offers key advantages over other AFM modes for straightforward and reliable characterization of moiré superlattices, including:

Consistent high-resolution imaging

Compatibility with nonconductive samples and substrates

TFM was used to resolve moiré patterns formed in a layer of graphene atop hexagonal boron nitride (hBN) in air, at room temperature. The moiré period of 2.6 nm corresponds to an interlayer twist angle of 5.4° between graphene & hBN. Finer features in the images likely correspond to graphene’s atomic lattice. Images were acquired on the Dimension Icon using AD-2.8-SS probes at 8.14 Hz line rate  (fTR ~1.43 MHz). Scan sizes: 5 nm (left) and 20 nm (right). Data courtesy of Dr. Mihir Pendharkar & Prof. David Goldhaber-Gordon, Stanford University. [Click on image to read full atricle at DOI: 10.1073/pnas.231408312]

Compositional Mapping of Polymers with Enhanced Sensitivity

In TFM, the torsional resonance modulation gives rise to strong contrast in the TR phase image that is related to the mechanical properties of the sample. As a new feature of the NanoScope 6 controller, a phase locked loop (PLL) is now available in TFM. When applied, the PLL adjusts (nulls) the Phase shift and tracks the associated shifts in Resonance Frequency and Amplitude, where contrast observed in the Resonance Frequency image is related to elastic modulus and contrast in the Amplitude image indicates dissipative areas.

Using this PLL in TFM can provide novel information with regards to nanomechanical properties of soft materials, such as polymer blends and composites, by enabling compositional mapping with enhanced sensitivity and insights into dissipation.

TFM imaging on cross-sectioned carbon fibers/epoxy resin composite. PLL OFF: The observed phase contrast (TR Phase) reflects variations in the nanomechanical properties of the two components. PLL ON: The phase locked loop (PLL) nulls the phase shift and tracks shifts in TR Frequency and TR Amplitude. The resulting contrast in these individual data channels are directly related to differences in the elastic modulus and areas of dissipation on the sample, respectively. Images were acquired on the Dimension Icon using AD-2.8-AS probes (fTR ~1261kHz). Scan size: 20 µm.

Built on the Benefits of Torsional Resonance Mode (TR-Mode)

Torsional resonance mode (TR-Mode) was developed by Bruker in 2003. In TR-Mode, the torsional resonance amplitude (or phase) of the AFM probe is used to control the feedback loop and maintain the tip-surface relative position through lateral interaction. The nature of tip-surface interaction facilitates phase measurements to resolve the in-plane anisotropy of materials, as well as measurements of dynamic friction at the nanoscale.

TR-Mode was first introduced as an alternative to TappingMode for high-resolution topography imaging of soft materials. As tip-sample interactions remain in the attractive regime, TR-Mode has proven to be beneficial for imaging samples with high-adhesion. And because the Q-factor of the torsional resonance of the AFM probe is significantly higher than the flexural resonance Q-factor, TR-Mode has provided enhanced structural information for samples requiring highly sensitive phase detection.

The benefits of TR-Mode have been integrated with other Bruker modes, including:

Torsional force microscopy (TFM)

Torsional resonance tunneling AFM (TR-TUNA)

Torsional resonance magnetic force microscopy (TR-MFM)

Torsional resonance tunneling AFM (TR-EFM)

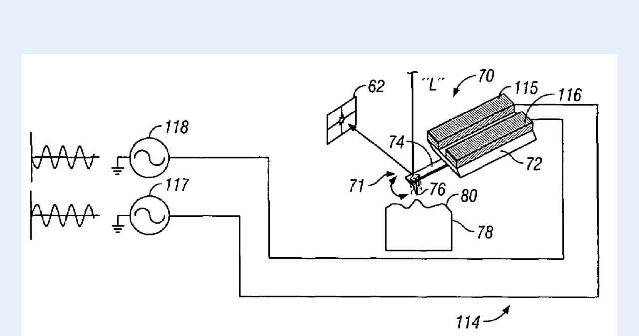
Schematic principle of dual piezoelectric elements to drive the probe into torsional resonance. Extracted from the Bruker Nano Inc. patent US6945099B1, “Torsional resonance mode probe-based instrument and method”.
Input value is invalid.

Get instant access to the full-length AFM modes handbook.

The Definitive AFM Modes Handbook contains everything you need to understand, select, and apply AFM techniques in materials research, including:

  • An easy-to-use framework for understanding the seven categories of AFM modes, their capabilities, and their core uses
  • Detailed descriptions of 50+ modes and variants (including 300+ data images)
  • Summary information about what each mode is, how it works, and when to use it
  • Our experts' top probe recommendations for each mode
Please enter your first name
Please enter your last name
Please enter your e-mail address
Please enter a valid phone number
Please enter your Company/Institution
What best describes your current interest?
Please accept the Terms and Conditions

             Privacy Notice   Terms of Use


  * Please fill out the required fields.

Your download is now available.


Note:
If you exit this page, you may not be able to reopen this download window without re-submitting the form.